2017年11月10日~12日,第三届“面向翻译的术语研究”国际学术研讨会在南京大学(仙林校区)国际会议中心举办,在“面向翻译的术语管理”主题论坛上,王华树博士做了《术语管理指南》发布报告,从“成书背景”、“主要内容”、“编委构成”三个方面介绍了《术语管理指南》。
成书背景
【政府:文化传播中的术语管理需求】
“中国思想文化术语对外翻译标准化建设”项目正在进行,该项目旨在整理和翻译改革开放以来、特别是近十年来多语种中国时事政治领域术语,建立中国思想文化术语多语种对外翻译术语库和多媒体权威发布和查询服务平台,制定中国思想文化术语译名对外翻译规范标准,为国家对外翻译事业规划、翻译实践和研究提供权威实用的术语资源服务平台,构建术语多语种对外翻译标准化保障机制,为回应国际关切,增强对外话语主动权和传播时效,促进国家对外翻译事业的标准化、规范化建设提供引领和保障作用。
《术语管理指南》是该项目的阶段性成果。

【企业:大型项目的术语管理需求】
企业的大型翻译/本地化项目一般牵扯多个部门、大量文件,术语质量是保证项目质量的重要保证,要保证项目术语质量,必须有标准化的术语管理流程和成熟的术语管理系统,而2016年《中国语言服务行业发展报告》有数据显示,接受术语管理工具相关调查的38家企业中,仅有14%的企业表示使用了术语管理工具。

【个体译者:多个专业领域的术语管理需求】
随着翻译市场的发展,业务需求量的增加,Freelancer越来越需要长线程管理多个领域的术语,需要更系统的术语管理方法论和术语管理系统支持。在对个人口译术语管理的调查中,仅有5%的译员表示自己使用了术语管理系统,绝大部分译者还在使用Excel表格管理术语。

【传统术语管理缺陷】
传统术语管理无法满足现代术语管理需求,如:
不能为术语分配使用状态,例如,已审核或作废
不能按特定标准过滤术语数据,如主题字段和语言
不能添加插图、书目和源信息
不能添加从一个术语到另一个术语的交叉引用
不能记录元数据,如条目日期、用户、修改日期等
不能定义访问特定术语数据的阅读和/或写入权限
不能提供在线术语数据......
主要内容
《术语管理》指南共六章内容,分别回答了如下六个问题:
【什么是术语管理?】
第一章介绍了术语管理的基础知识。阐述术语管理的基本概念、基本分类、重要作用、基本原则、主要内容和相关标准等。
【术语管理有哪些角色分工?】
第二章:术语管理的角色分工。梳理语言服务企业与其他企业中针对翻译流程设置的不同术语管理角色(如技术写作人员、译员、编辑、审校、项目经理、技术工程人员等主要角色),描述和解释不同角色的术语管理工作流程和工作内容。
【术语管理有什么样的工作流程?】
第三章:术语管理的工作流程。根据精选国际项目管理实践,对翻译项目进行不同阶段的划分,将项目管理的理念融入术语管理。同时,借助项目管理系统和术语管理系统,实现源文件分发、源文件预处理、术语抽取、术语讨论、术语确认、术语库创建、术语识别、术语资源备份等多项术语管理任务。
【术语管理有哪些技术应用?】
第四章:术语管理的技术应用。论述术语管理技术的基础知识,包括术语收集、术语提取、术语标注、术语管理系统、术语库技术和术语库交换标准,重点讲解独立的术语管理系统、主流的计算机辅助翻译工具中的术语管理模块,以及基于网络的术语管理工具的应用与发展。
【基于专项领域如何进行术语管理?】
第五章:专业领域的术语管理案例分析。分析专业领域的术语管理实践案例,主要涉及生命科学、制造工业、旅游业、信息技术、专利等,论述各个专业领域术语的特点,分析其在术语管理方面的问题与需求,并归纳各领域在术语管理流程和术语管理平台建设方面所取得的经验。
【国际化企业如何提供术语管理解决方案?】
第六章:语言服务企业的术语管理解决方案。从企业视角介绍各具特色的术语管理解决方案。对于国际化企业来说,术语管理是全球化企业语言资产管理的重要组成部分,也是企业信息开发和技术写作的基础性工作。有效的术语管理可帮助企业降低产品内容设计成本,规避本地化术语风险,降低翻译成本,保持内容的准确性、一致性、规范性和专业性。SDL、Lionbridge、CSOFT、阿里巴巴、华为、IBM、Microsoft、Oracle、SAP、HP 等国际化企业均有完善的术语管理方案,部署了术语管理系统,并设置了术语专家职位,以加强企业的术语管理工作。
干货分享
经王华树老师授权,特放出“角色划分”、“工作流程“、”相关工具“相关的内容。
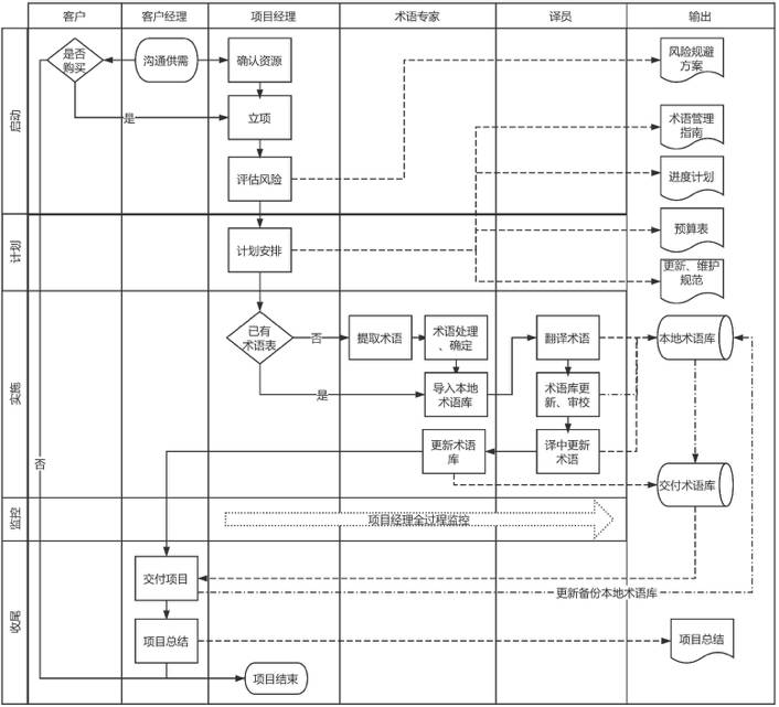
宏观而言,术语管理涉及的角色有管理负责、技术负责、语言负责以及其他负责人,具体岗位有客户、客户经理、项目经理、术语专家、译员等,分别在项目启动、计划、实时、监控、收尾五个阶段负责不同的工作并通力合作,保证整个项目的术语质量。
【术语管理的角色划分】

术语管理宏观角色划分
【术语管理的工作流程】

术语管理贯穿翻译项目的整个流程

术语管理在翻译项目流程中的各项工作

术语管理各岗位在翻译项目流程中的具体工作
【术语管理的相关工具】

【术语管理的主要优势】

以上是王华树博士《术语管理指南》发布报告的内容分享,经授权发布。
《术语管理指南》图书购买链接:https://detail.tmall.com/item.htm?id=561154833770&_u=t2dmg8j26111